

Description
Dual plate wafer check valves, have two springs?loaded half-moon shaped discs that rotate around?their shaft. They are designed to automatically prevent back-flow in systems where it is desirable to permit flow in one direction and prevent flow in the opposite direction.?
Features
1.?light weight, compact structure, easy maintenance.??
2.?The valve plate adopts clamp type, which can close automatically under the ?moment of elastic force of spring.??????
3.?Because of the speed of closing action, can prevent the medium flow back.
4.?The valve body structure size is small, rigidity is good.
5.?The valve?can be?safely?and conveniently?used for horizontal and vertical installation.
Technical Data

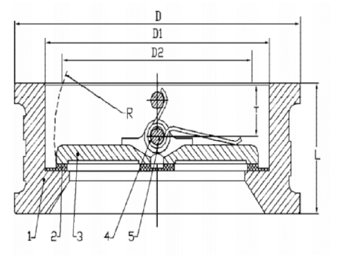
Item |
Part name |
Material |
1 |
Body |
Ductile Iron |
2 |
Seat |
NBR/EPDM |
3 |
Disc |
Ductile Iron |
4 |
Spring |
SS304 |
5 |
Stem |
SS420 |

Copyright ? IVALVE TECH. (TONGLING) CO.,LTD. All rights reserved.